Optimizado para puntos finales IoT, este nuevo MCU de 16 bit RL78/G23 y muy bajo consumo amplía las funciones periféricas y aporta mejoras en eficiencia y seguridad.
Renesas Electronics, fabricante de semiconductores avanzados, anuncia el lanzamiento y el comienzo de la producción masiva de su microcontrolador (MCU) RL78/G23 de propósitos generales de 16 bits, que amplía su familia RL78 de MCU de 8 y 16 bits para un buen número de aplicaciones.
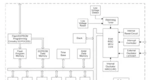
Compatible con los modelos RL78 de propósitos generales, como el RL78/G13, el nuevo RL78/G23 aumenta la capacidad de memoria flash a 768 KB y las funciones periféricas on-chip, lo que se traduce en una mejora de funcionalidad y una disminución de la lista de materiales (BOM) y de los costes. También reduce el consumo de energía en aplicaciones alimentadas por batería.
Por lo tanto, el RL78/G23 resulta idóneo en una amplia variedad de aplicaciones que requieren prestaciones y asequibilidad, como es el caso de puntos de finales de Internet de las Cosas (IoT) en electrónica del hogar, mandos a distancia y sensores.
Beneficios con su implementación
En principio, al adoptar un nuevo proceso, el RL78/G23 consume 44 µA/MHz con la CPU y 210 nA durante la parada (con una retención de SRAM de 4 KB), unos valores inferiores a los de los MCU RL78 existentes.
Además, el secuenciador de modo SNOOZE (SMS) nuevamente implementado elimina la necesidad de activar la CPU mientras cualquier periférico rinde en modo snooze, reduciendo drásticamente el consumo en aplicaciones con una operación intermitente.
Por otro lado, el controlador de enlace de evento y lógica (ELCL) añade funcionalidad lógica a las capacidades de un controlador de lógica de evento (ELC). Esto permite crear enlaces condicionales a múltiples eventos y continuar beneficiándose del menor consumo de energía del ELC.
El RL78/G23 cuenta con una unidad de sensor táctil capacitivo que combina características de alta sensibilidad y bajo ruido y se puede emplear a la hora de implementar una interfaz de usuario basada en gesto sin contacto.

El MCU de 32 MHz también incorpora funciones de seguridad como un generador de números aleatorios (TRNG) para cifrado certificado y una ID exclusiva de dispositivo específico y un a ID de cliente creada por el usuario.
Y, por si fuera necesario, las características se completan con un rango de tensión de 1,6 a 5,5 V, un oscilador de alta velocidad con una precisión de ±1 por ciento, un puerto de control de corriente de salida (15 mA) para LED y un puerto de salida de 40 mA, así como diversos encapsulados de 30 a 128 pines.
Renesas ofrece una tarjeta de evaluación que ya está calificada para trabajar con FreeRTOS en Amazon Web Services (AWS) aparece en la lista AWS Partner Device Catalog.
Finalmente, se encuentra disponible más información del MCU de bajo consumo en este enlace.










