Facebook
Mail
RSS
Twitter
Youtube
Nuestras Publicaciones
NTDhoy
Actualidad Industrial
Cables y Conectores
Comunicaciones inalámbricas
Electrónica práctica
Electrónica profesional
Fibra óptica
Foro técnico instaladores
Industria embebida
Instaladores de Telecom
Instrumentación
Revista de Empresas EEH
Seguridad profesional
Tecno-Noticias
Wireless
Contacto
Lo más leído
Especial fuentes de alimentación
Especial Sensores
Artículos de fondo
SUSCRIPCIÓN A NOTICIAS
Buscar
Nuestras Publicaciones
NTDhoy
Cables y Conectores
Comunicaciones inalámbricas
Electrónica práctica
Electrónica profesional
Fibra óptica
Foro técnico
Instrumentación
Instaladores de Telecom
Seguridad
Sistemas embebidos
Wireless
Especiales
Alquiler de equipos de fibra óptica
Especial Box PC
Especial cámaras de seguridad
Especial cámaras termográficas
Especial Fuentes de alimentación
Especial Fusionadoras de fibra óptica
Especial módulos inalámbricos
Especial Osciloscopios
Especial OTDR
Especial Panel PC
Especial Routers inalámbricos
Especial Sensores
Especial Switches
Especial Switches industriales
Especial tarjetas CPU
Especial transceptores ópticos
Webminars
RSS
Aviso legal NTDhoy
diarioelectronicohoy.com
Nuestras Publicaciones
NTDhoy
Actualidad Industrial
Cables y Conectores
Comunicaciones inalámbricas
Electrónica práctica
Electrónica profesional
Fibra óptica
Foro técnico instaladores
Industria embebida
Instaladores de Telecom
Instrumentación
Revista de Empresas EEH
Seguridad profesional
Tecno-Noticias
Wireless
Contacto
Lo más leído
Especial fuentes de alimentación
Especial Sensores
Artículos de fondo
SUSCRIPCIÓN A NOTICIAS
Inicio
Etiquetas
HT45F8544
Etiqueta: HT45F8544
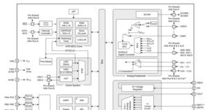
Microcontroladores HT45F8544, HT45F8554 y HT45F8566 con protección
Maria Camara
-
7 diciembre, 2022
0
×